Nhà sản xuất ô tô Hyundai của Hàn Quốc gần đây đã nộp đơn xin cấp bằng sáng chế bổ sung màn hình trên chính giữa vô lăng.
Đây không phải là lần đầu tiên Hyundai có ý tưởng này. Vào năm 2019, hãng xe Hàn Quốc đã đưa ra một ý tưởng được gọi là “Nghiên cứu buồng lái ảo”. Về cơ bản, nó bổ sung thêm hai màn hình cảm ứng khá lớn ở các góc của vô-lăng.

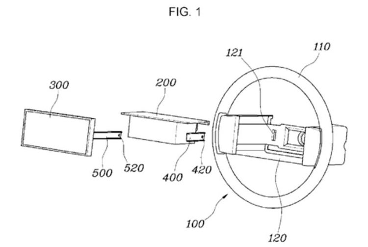
Tuy nhiên, bằng sáng chế mới nhất này tiến xa hơn một bước so với khái niệm năm 2019 của hãng. Hiện vẫn chưa có thông tin chi tiết, nhưng theo phác thảo của hồ sơ đăng ký, vị trí đặt màn hình là vị trí bệ còi của xe. Do vậy, dự kiến nó có thể sẽ đóng vai trò là cụm đồng hồ và màn hình hiển thị đa thông tin của xe.

Bằng sáng chế đề cập rằng túi khí vẫn sẽ được chứa trong vô lăng và có các giá đỡ riêng biệt giúp cho màn hình sẽ không bị hư hại trong trường hợp túi khí bung ra.
Trước đó, mẫu xe Genesis Mint concept cũng đã giới thiệu chiếc vô lăng với màn hình trên chính giữa, liệu đây có phải là những gì Hyundai đang triển khai.

Có thể mục tiêu của Hyundai là muốn tạo ra một bảng điều khiển gọn gàng hơn, ít lộn xộn hơn. Tuy nhiên, liệu đây có phải là một giải pháp cho một vấn đề mà chưa ai nghĩ ra, hay nó thực sự là một ý tưởng thông minh?
 
			 
			
 
                                








 
							





 
							

