Toyota vừa công bố hai bằng sáng chế liên quan đến việc sắp xếp lại các thành phần truyền động trên các mẫu xe điện, nhằm tăng tính linh hoạt thiết kế và tối ưu không gian cabin.
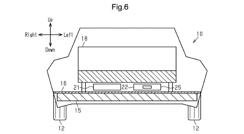
Theo hồ sơ, thay vì đặt toàn bộ bộ điều khiển công suất và thiết bị điện trực tiếp trên cụm pin dạng “skateboard” dưới sàn, Toyota đề xuất tích hợp chúng vào hai cụm cơ điện (gồm mô-tơ và bộ điều khiển). Các cụm này có thể được bố trí: phía trước hoặc phía sau bộ pin, hoặc trong đường hầm trung tâm giữa hai ghế trước. Hai bằng sáng chế được nộp vào mùa hè 2025 và công bố tháng 1/2026.

Việc thay đổi vị trí linh kiện có thể giúp bộ pin mỏng hơn, mở rộng không gian nội thất, đồng thời cho phép ứng dụng trên nhiều kiểu thân xe thấp như sedan hoặc hatchback. Cách bố trí mới cũng có thể cải thiện phân bổ trọng lượng, giảm chiều dài dây cáp, tiết kiệm trọng lượng và tăng hiệu quả vận hành.

Ngoài ra, một bằng sáng chế còn đề cập đến hệ thống mô phỏng cần số tay cho xe điện, tương tự công nghệ Toyota từng thử nghiệm trên Lexus UX chạy pin. Dù đăng ký bằng sáng chế không đồng nghĩa công nghệ sẽ được thương mại hóa, các tài liệu này cho thấy Toyota đang tiếp tục nghiên cứu các hướng đi mới để nâng cấp nền tảng xe điện tương lai.



















