Mới đây, hãng xe Honda đã nộp các bản vẽ đăng ký bằng sáng chế côn tay điện tử cho xe máy, mô tô đến Văn phòng nhãn hiệu và bằng sáng chế Hoa Kỳ (USPTO).
Các bản vẽ đăng ký cho thấy, Honda đang nghiên cứu một hệ thống ly hợp điện tử (côn tay điệ tử) có khả năng mang lại một số tiến bộ công nghệ đáng chú ý cho mô tô, xe máy.
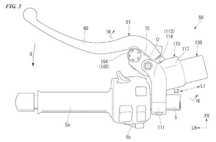
Bản vẽ mô tả nó sử dụng cảm biến và bộ truyền động để điều khiển ly hợp chứ không phải dùng sợi cáp để điều khiển như trước.
Vị trí của cần ly hợp (tay côn) sẽ được giám sát bằng điện tử và dữ liệu đó sẽ được truyền đến ly hợp mà không cần bất kỳ kết nối vật lý nào giữa cần và ly hợp.
Ngoài ra, bộ phận này sẽ được cung cấp dữ liệu tức thời như vòng tua máy, vị trí bướm ga và tốc độ xe. Kết quả rõ ràng nhất sẽ là việc chuyển số được cải thiện và hoạt động ly hợp mượt mà hơn ở tốc độ chậm hơn.
Đối với những tay đua có kinh nghiệm vẫn muốn có cảm giác của việc “buông nhả” hay cắt côn thông thường, Honda đã trang bị một thiết bị tạo lực phản ứng để tái tạo cảm giác của một cần ly hợp thông thường.
Theo bản vẽ bằng sáng chế, hệ thống này sẽ sử dụng thiết lập đòn bẩy ly hợp truyền thống trên tay lái. Áp suất thủy lực sẽ vẫn được sử dụng để khớp ly hợp, mặc dù thông qua động cơ điện chứ không phải bất kỳ kết nối vật lý trực tiếp nào từ tay người lái
Với thành công của Honda trong việc thiết lập hộp số ly hợp kép (DCT), công nghệ này sẽ sớm thành hiện thực.



















